PODSTAWA SŁUPA Z PRĘTEM KOTWA WSPORNIK DO WMURWOANIA TYPU ,,U,, 160MM
0
Opis
⚜️PODSTAWA SŁUPA Z PRĘTEM⚜️

✳️Podstawa słupa z prętem do wmurowania typu „U” 160 mm — solidne mocowanie każdej konstrukcji
Podstawa słupa typu „U” 160 mm to niezawodne rozwiązanie do stabilnego mocowania konstrukcji drewnianych. Świetnie sprawdzi się przy budowie altan, wiat, garaży, zadaszeń, ogrodzeń oraz innych elementów architektury ogrodowej.
➡️Najważniejsze zalety
- Trwałość i odporność na korozję
Kotwa została ocynkowana, co zapewnia skuteczną ochronę przed warunkami atmosferycznymi i przedłuża żywotność elementu.
- Stabilność i wytrzymałość
Wykonana z grubej, mocnej blachy i solidnie spawana. Gwarantuje pewne i bezpieczne oparcie dla słupa, nawet przy dużych obciążeniach.
- Uniwersalne zastosowanie
Doskonała do montażu słupów drewnianych w gruncie poprzez wmurowanie. Sprawdza się w każdym ogrodzie oraz przy budowie konstrukcji użytkowych i dekoracyjnych.
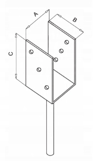
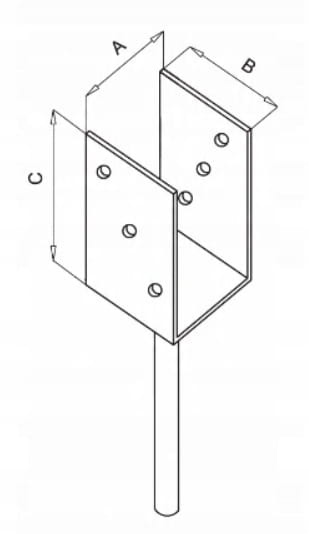
⚪️Wymiary⚪️
- A: 161 mm
- B: 60 mm
- C: 120 mm
❓Dlaczego warto wybrać naszą podstawę słupa❓
Podstawa słupa typu „U” 160 mm to pewność solidnego mocowania i długiej trwałości konstrukcji. Dzięki niej słupy są idealnie ustabilizowane, a cała budowla zyskuje maksymalną wytrzymałość i bezpieczeństwo.
